Elektrik Devreleri
Arduino’yu programlarken pek fazla elektronik bilgisi gerekmez ancak elektronik hakkında temel bilgiler edinmek gerekmektedir.
Elektronik Nedir?
Elektronik, elektrik kullanarak bilgi işleyen, taşıyan veya depolayan elemanları ve sistemleri inceleyen bilim dalıdır. Bir başka ifade ile elektronik, elektronik aygıtları çalıştırmak için küçük elektrik akımlarının nasıl kumanda edilmesi gerektiğini inceleyen bilim dalıdır.
Elektrik Akımı
Elektrik akımı, elektron adı verilen çok küçük parçacıkların bir tel boyunca akışıdır. Bütün maddeler elektron içerir. Elektronlar her şeyi oluşturan atomların bir parçasıdır.
Voltaj (Gerilim) Nedir?
Voltaj, devreden akım geçmesi yani elektronların hareketi için gerekli olan elektrik alan kuvvetidir. Elektronların akmasını yani akımın oluşmasını sağlar. Birimi Volt’tur ve V harfi ile gösterilir.
Bu olayı daha kolay kavrayabilmek adına gerilimi bir barajdan dökülen suyun seviyesinin yüksekliği olarak düşünebiliriz. Barajdaki su yüksekliği ne kadar fazla olursa akış o kadar şiddetli olacaktır. Yani gerilim yükseldikçe akacak olan akım şiddeti o kadar fazla olur.
Akım Nedir?
Elektrik akımı, gerilim etkisi altında iletken bir madde üzerinden serbest elektronların hareketi olarak tanımlanabilir. Birimi Amper’dir ve A ile gösterilir. Bir devreden elektrik akımının akabilmesi için o devrenin Kapalı Devre olması gerekir. Eğer devre açık olursa serbest elektronlar havadan geçemeyecekleri için elektrik akımı meydana gelmez.
Direnç Nedir?
Devreye uygulanan gerilim ve akım bir uçtan diğer uca ulaşıncaya kadar izlediği yolda birtakım zorluklarla karşılaşır. Bu zorluklar elektronların geçişini etkileyen veya geciktiren kuvvetlerdir. İşte bu kuvvetlere Direnç denir. Direncin birimi ise Ohm’dur.
Ohm Kanunu:
Elektrik devresinde gerilim (voltaj), akım ve direnç arasında bir bağlantı vardır. İki nokta arasındaki bir iletken üzerinden geçen akım, gerilim ile doğru, direnç ile ters orantılıdır. İşte bu bağlantıya Ohm Kanunu veya Ohm Yasası denir.
V = I x R formülünü kullanarak gereken hesaplamaları yapabiliriz.
Not: 1A = 1000mA olarak ifade edilebilir.
Devremizdeki voltaj ve akımı nasıl ölçebiliriz?
Fiziksel ortamda devre üzerinde voltaj ve akımı ölçmek için Multimetre kullanılır. Akım ölçmek için multimetre devreye seri bir şekilde, voltaj ölçmek için ise paralel bir olarak bağlanmalıdır.
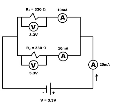
Dirençlerin Seri Bağlanması
Aşağıdaki devre şemasında, 3.3V’luk bir güç kaynağı bulunmakta ve her biri 330 Ω olan iki adet direnç seri şekilde bağlanmıştır. Ayrıca devreden geçen akımın ölçülebilmesi ve dirençlerin her iki ucu arasında meydana gelen gerilim değerlerini görebilmek için de dirençler arasına seri şekilde bir Ampermetre ve dirençlere paralel bir şekilde Voltmetreler bağlanmıştır.
Dirençler devreye seri bağlandıklarında toplam direnç;
RT = R1 + R2 formülü ile bulunur.
RT = 330ΩΩ + 330ΩΩ = 660ΩΩ
Akımı bulmak için ise;
V = I x R 3.3V = I x 660ΩΩ
I = 0,005A 5mA
Dirençlerin Paralel Bağlanması
Bir önceki devre şemasındaki dirençleri bu kez paralel olarak bağlayarak devreden geçen toplam akımı, dirençlerin üzerinden geçen akım miktarını ve dirençlerin üzerindeki gerilimi ölçelim.
Elektrik devresi basitçe başlangıç ve bitiş noktası olan ve içerisinde birçok devre elemanı bulunduran döngüdür. Devreler her ölçüde ve şekilde yüzlerce; direnç, diyot, bobin, sensör, motor ve diğer devre elemanlarını barındırabilir.
Devreler genelde analog devreler, dijital devreler ve karışık sinyal devreleri olmak üzere üç kategoriye ayrılır.
Basit Elektrik Devresi
Basit bir elektrik devresi için pil, ampul, anahtar ve bakır tel malzemeleri kullanılmaktadır.
Aşağıdaki devrede anahtar basılı olduğunda elektriğin devreyi tamamladığı için LED veya ampul yanar, bu devrelere kapalı devre denilmektedir. Anahtarın açık olduğu durumda devre kendini tamamlayamayarak, ampul yanmamaktadır. Bu devrelere ise açık devre denilir.
Anahtarlı LED devre görüntüsü ve şeması
Devre elemanları, sembollerle gösterimi ve görevleri
Elektronik Devre Elemanları
BREADBOARD :
Breadboard, elektronik devreleri pratik olarak kurmak ve test etmek için kullanılan kullanışlı bir ekipmandır.
Yapacağımız projede devre elemanlarını kolayca yerleştirerek devremizi oluşturmamıza yarayan, belli satır ve sütunları kendi aralarında iletken hale getirilmiş devre tahtasıdır.
LED :
Ledler, üzerinden akım geçtiğinde ışık yayan devre elemanlarıdır. Bildiğimiz üzere diyot, akımın yalnızca bir yönden geçmesini sağlayan iki bacaklı yarı-iletken bir devre elemanıdır. LED‘ler de diyot olduğu için, ters bağlandığında çalışmaz. Yani Artı(+) uca 5v, Eksi(-) uca GND bağlantısı yapılması gerekir.
Ayrıca ledleri kullanırken 200 – 300 ohm civarında direnç ile bağlamak gerekir. Aksi halde LED bozulabilir.
Çalışma gerilimi 1.5 Volttur. LED’in çalışma gerilimini sınırlandırmak için, direnç takılmalıdır.
BUZZER :
Buzzer’a gelen frekansı değiştirerek farklı tonlarda sesler alabiliriz. Buzzer’ın eksi(-) ucu GND(toprak) pinine, artı(+) ucu da dijital pinlerden birisine bağlanır.
BUTON :
Butonlar dijital sinyaller ile çalışan devre elemanlarıdır. Butonun dört adet bağlantı kablosu vardır. Kullanıcı düğmeden elini çektiğinde devrenin eski konumuna dönmesi için, pull up ve pull down denilen direnç bağlantıları kullanılır. Pull up ve pull down direnç ismi değil, dirençlerin bağlanma şeklidir. Genellikle 10kΩ direnç kullanılır.
❗DİKKAT : Kullanılan butonun 4 bacaklı yada 2 bacaklı olması fark etmez. Bağlantı şekli aynıdır. 4 bacaklı butonun yukarıdaki yada aşağıdaki iki bacağını bağlamak yeterli olacaktır.
Butona bastığımızda Arduino'ya sinyal göndeririz. Basılı ise 1 değerini Basılı değil ise 0 değerini vermiş oluruz.
JUMPER KABLOSU (Atlama Kablosu) :
Kısaca bir çeşit bağlantı kabloları diyebiliriz. Breadbord ve arduino arasında bağlantı kurmak için oldukça kullanışlıdır. Uçlarında erkek ve dişi girişlerin bulunmasına göre 3 çeşittir. Bunlar;
1- Erkek-Erkek Jumper Kablosu:
2- Erkek-Dişi Jumper Kablosu:
3- Dişi-Dişi Jumper Kablosu:
DİRENÇ :
Arduino ile pinlerden vereceğimiz akım Ledler için yüksek değerdedir. Dirençler bu değeri düşürerek Led’e uygun hale getirirler.
RGB LED :
RGB LED’ler, normal LED’lerden farklı olarak tek paket içerisinde 3 farklı renk (kırmızı, yeşil ve mavi) LED’i bir arada bulundurur. Bu üç rengin farklı oranlarda karıştırılması ile her rengi elde edebiliriz. RGB LED’lerde LED’in üretim şekline göre anot veya katot bağlantıları ortak olarak bulunmaktadır.
LCD Ekran (I2C) :
SERVO MOTOR :
ROLE :
LDR (Fotodirenç) :
Üzerine düşen ışık şiddeti ile ters orantılı çalışır. Yani üstüne düşen ışık şiddeti arttıkça direnç değeri azalır. Işık şiddeti azaldıkça ise sahip olduğu direnç değeri artar.
En yaygın olarak aydınlatma sitemlerinde kullanılır. Günümüzde en çok sokak lambası, gece lambası, otomatik farlar gibi alanlarda kullanılır.
HC-SR04 - ULTRASONİC SENSÖR :
Bu sensör sayesinde 2cm ile 400cm arası uzaklıkları ölçebilmekteyiz. Üzerinde 4 adet pin bulunmaktadır. Trig pininden gönderilen 40 kHz frekansında ultrasonik bir ses dalgası herhangi bir cisme çarpıp sensöre geri döndüğünde echo pini aktif hale gelir. İki sinyal arasındaki süre ölçülerek cismin sensörden uzaklığını tespit edilir.
POTANSİYOMETRE :
KONDANSATÖR (Sığaç ya da Kapasitör ) :
Elektrik yüklerini kısa süreliğine depo etmeye yarayan devre elemanıdır.
Bir yalıtkan malzemenin iki metal arasına yerleştirilmesi ile oluşur. Devrede ve denklemlerde C harfi ile gösterilir ve birimi Farad (F)‘dır. Kondansatör elektrik devrelerinde kullanılır. Farklı tipleri bulunur. Elektrik devrelerinde birçok değişik amaçta kullanılabilir. Kısaca kondansatörler tüm elektronik cihazlarda yer aldığını söyleyebiliriz.
TRANSİSTOR :
DİYOT :
Elektronik Devre Elemanları ile ilgili bilgilerin PDF dosyasını aşağıdaki bölümden indirebilirsiniz. 👇























.jpg)



.png)





0 Yorumlar